下载或打开 医联APP 查看完整评论
立即下载
打开APP
头痛5天。 老年女性,5天前无诱因出现头顶及后枕部胀痛。无发热,无抽搐,无视物不清,无肢体麻木及活动障碍等伴随症状。睡眠饮食及二便正常。 既往史:1年前有心梗史,余无特殊。 个人史及家族史无特殊。
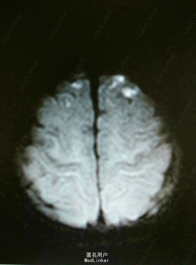
神经系统查体正常。 辅助检查:脑CT:未见明显异常。 进一步头增强MRI如图:FLAIR可见双额叶及顶叶沿皮质走行条状高信号,DWI可见双额叶点状明显高信号及顶叶脑回略高信号,增强脑实质未见异常,上矢状窦空三角征不很明确,T1无明显异常。

进一步MRV检查提示上矢状窦远端血栓形成。 诊断为上矢状窦血栓形成。 治疗予以低分子肝素抗凝及甘露醇脱水,好转出院。

体会: 1、单纯头痛不代表没有器质性病变。 2、初次头痛患者及有头痛史头痛程度加重或头痛性质变化、头痛持续者,常规头CT无发现也应进一步头磁共振检查,必要时增强及血管成像。 3、静脉窦血栓形成症状体征不特异。影像上如见双额叶、顶叶水肿、坏死或伴出血灶,高度提示上矢状窦血栓形成。